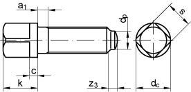
DIN 480 Vierkantschrauben mit Bund und Ansatzkuppe
DIN 480 Vierkantschrauben mit Bund und Ansatzkuppe
Filter
Ihre Suche ergab keine Treffer. Bitte passen Sie Ihren Text an oder scrollen Sie durch die Filteroptionen, um die passende Option zu finden.
Ihre Suche ergab keine Treffer. Bitte passen Sie Ihren Text an oder scrollen Sie durch die Filteroptionen, um die passende Option zu finden.
1 Artikel gefunden
Produktanzeige:
8 Varianten verfügbar
DIN 480 10.9 Vierkantschrauben mit Bund und Ansatzkuppe - Abmessung: M 10 x 50 VE=S (50 Stück)
